НТЦ по электронным компонентам и современным технологиям. Autex SPb Мы с Вами еще не знакомы Автэкс СПб
   
    Главная страница       Карта сайта    О фирме       Контакты       Библиотека       Продукция   

SSM2306. Аудиоусилитель класса D без использования внешнего фильтра
Analog Devices

Купить:

(812) 252-01-40
(812) 252-18-18


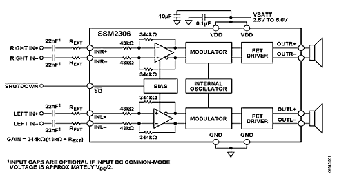
  SSM2306 - 2-х канальный оконечный каскад стереофонического аудио усилителя, класса D c высоким КПД, не требующий выходного НЧ фильтра. На входе каскада установлены ШИМ-модуляторы, преобразующие аналоговые сигналы в импульсы с модуляцией по длительности, которые далее подаются на мощный выходной каскад, управляющий аудио системой. Такая конфигурация устройства позволяет добиться выходной мощности на нагрузке 8  Ом по 1.4  Вт на канал при однополярном напряжении питания 5 В. В устройстве предусмотрен вход выключения, переводящий его в режим микропотребления.
Datasheet (479 kB)
Области применения:
  • мобильные телефоны;
  • МР-3 плееры;
  • портативная электроника;
  • миниатюрные игры;
  • образовательные игрушки;
  • ПК ноутбук.

    Дополнительно поставляются оценочные платы:

  • SSM2306-EVALZ;
  • SSM2306-MINI-EVALZ.
  • SSM2306. Блок-схема
    Технические параметры
    Усилитель класса D с встроенным выходным каскадом 1.4Вт на 8Ом при напряжении питания 5В
    КПД при 2 Вт на 4 Ом пит. 5 В 87%
    Отношение сигнал / шум > 98дБ
    Однополярное питание 2,5B ... 5В
    Усиление 18дБ
    Малый ток в режиме микропотребления 20нА
    Промышленный диапазон температур (-40...+85)0С
    Подавление щелчков при включении / выключении
    Минимальная величина генерируемой помехи
    Защита по току короткого замыкания и температуре кристалла
    Корпус 16-выводной для всех модификаций (отсутствие сплавов свинца) LFCSP-16 3х3мм
    Информация для заказа:
    ТИП Температурный диапазон Корпус Вариант
    SSM2306CPZ-R2 -40°C ... +85°C LFCSP_VQ -16    16 выводов СР-16-3
    SSM2306CPZ-REEL -40°C ... +85°C LFCSP_VQ -16    16 выводов СР-16-3
    SSM2306CPZ-REEL7 -40°C ... +85°C LFCSP_VQ -16    16 выводов СР-16-3
    SSM2306CPZ-EVAL   Оценочная плата  
    SSM2306CPZ-MINI-EVAL   Оценочная плата  
    Остальные компоненты этого класса:
    Тип Число каналов Вых. мощн. (Вт) КПД(%) Дин. диапазон (dB) Сигн/шум (дБ) Искаж. нелин. (dB) Источник "+" Ток
    AD1990 2 5 84 102 102 -90 +4.5V to +5.5V 20mA
    AD1992 2 10 84 102 102 -90 +4.5V to +5.5V 20mA
    AD1994 2 25 84 102 102 -90 +4.5V to +5.5V 20mA
    ADAU1590 2 11.5 (6 Ом) 87 101 101 -85 9V to 15V 34mA
    ADAU1592 2 18 (6 Ом) 87 101 101 -85 9V to 18V 44mA
    SSM2301 1 1.4 85 - 98 -67 2.5V to 5V 4.5mA
    SSM2302 2 1.4 85 - 98 -67 2.5V to 5V 6.6mA
    SSM2304 2 2 85 - 98 -67 2.5V to 5V 6.6mA
    SSM2306 2 2 87 - 98 -67 2.5V to 5V 3mA
        Главная    Карта сайта    О фирме    Контактная информация    Библиотека    Продукция   

    Автэкс СПб 1999
    Ленинградский геофизик 2004